
Dengan semakin mainstream-nya video game sebagai bagian dari industri hiburan, ia perlahan tentu mulai menarik mereka yang awam sebagai konsumen baru. Untuk memastikan tren ini terus berlanjut dan mereka yang sudah tertarik terjun untuk tetap bertahan, tidak sedikit developer hingga produsen konsol yang mencari cara untuk membuat keseluruhan pengalaman ini menjadi jauh lebih ringkas dan bersahabat. Bersama dengan tumbuhnya AI, hal inilah yang hendak didorong Sony dengan paten baru yang mereka daftarkan.
Strategi Sony untuk secara aktif membantu gamer menyelesaikan rangkaian game yang ada memang bukan hal baru. Playstation 5 misalnya, saat ini sudah mendukung fitur bernama Game Help yang didesain untuk mencapai ambisi tersebut. Kini dengan bantuan AI, Sony berkesempatan untuk mendorong konsep tersebut satu level lebih tinggi.
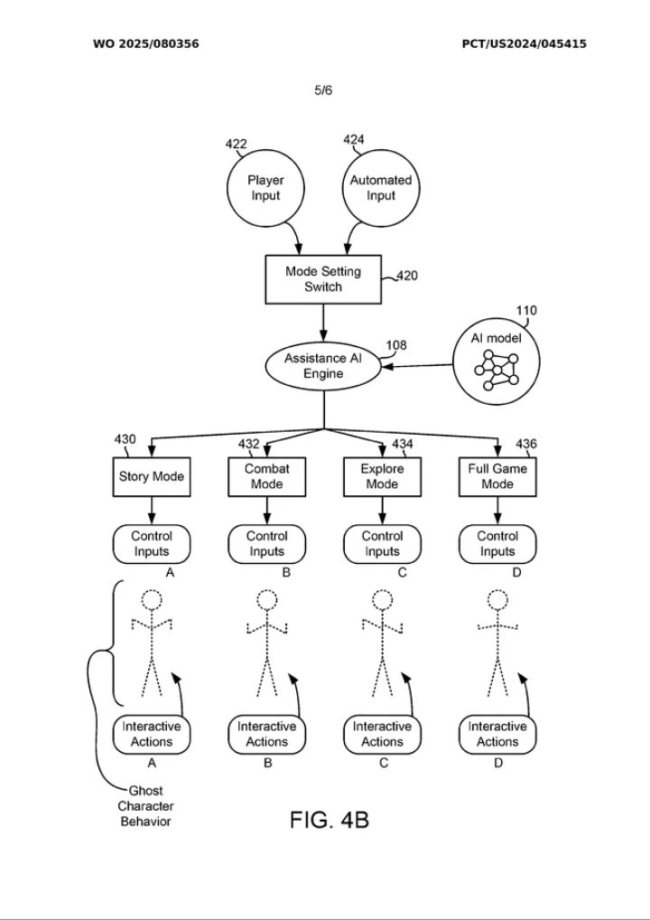
Berdasakan laporan dari situs Allaboutai,, Sony dikabarkan mendaftarkan paten “Ghost AI” yang didesain untuk membantu gamer nantinya. Seperti nama yang ia usung, bahwa alih-alih sekadar instruksi tertulis atau video, ia akan menciptakan dan menghadirkan sebuah karakter Ghost yang akan langsung menempati ruang si video game itu sendiri. Nantinya si Ghost akan memamerkan cara untuk menyelesaikan puzzle atau sekadar mendemonstrasikan sekuens input gerakan yang dibutuhkan untuk melanjutkan permainan.
Bahkan tidak berhenti sampai di sana saja, Sony juga kabarnya hendak mengimplementasikan ssitem tanya jawab di sini sehinggga gamer bisa langsung bertanya dan mendapatkan jawaban dari sang Ghost AI ketika dibutuhkan.

Di dalam paten tersebut, Sony juga terlihat hendak menawarkan rangkaian opsi preset untuk bantuan Ghost AI yang akan terbagi menjadi Story Mode, Combat Mode, Exploration Mode, dan Full Game Mode yang walaupun tidak dibarengi dengan penjelasan, namun mengindikasikan pengaturan soal seberapa aktif keterlibatan sang Ghost AI di dalam game nantinya.
Sony yakin bahwa teknologi ini dibutuhkan mengingat semakin kompleksnya video game. Ia menargetkan para gamer tidak ahli yang seringkali berhenti bermain di tengah perjalanan atau kesulitan menyelesaikan tugas tertentu.
Tentu saja, paten seperti ini belum tentu akan selalu berujung menjadi fitur atau teknologi yang diterapkan di produk komersial di akhir. Namun tetap saja pendaftaran ini menjadi sebuah intipan menarik soal apa yang hendak dilakukan Sony dengan kian berkembangnya teknologi AI di industri game saat ini.
Bagaimana menurut Anda?

